BJT


一、BJT的結構簡介    
   
  BJT又常稱為晶體管,它的種類很多。按照頻率分,有高頻管、低頻管; 按照功率分,有小、中、大功率管;按照半導體
   
    
  圖3.1是NPN型BJT的示意圖。 它是由兩個 PN結的三層半導體制成的。中間是一塊很薄的P型半導體(幾微米~幾十微米),兩邊各為一塊N型半導體。從三塊半導體上各自接出的一根引線就是BJT的三個電極,它們分別叫做發射極e、基極b和集電極c,對應的每塊半導體稱為發射區、基區和集電區。雖然發射區和集電區都是N型半導體,但是發射區比集電區摻的雜質多。在幾何尺寸上, 集電區的面積比發射區的大,這從圖3.1也可看到,因此它們并不是對稱的。 
   
二、BJT的電流分配與放大作用 
   
1、BJT內部載流子的傳輸過程    
  BJT工作于放大狀態的基本條件:發射結正偏、集電結反偏。 
  在外加電壓
                    
(1)發射極注入電子
  由于發射結外加正向電壓VEE,因此發射結的空間電荷區變窄,這時發射區的多數載流子電子不斷通過發射結擴散到基區, 形成發射極電流IE,其方向與電子流動方向相反,如圖3.2所示。 
   
(2)電子在基區中的擴散與復合       
  由發射區來的電子注入基區后, 就在基區靠近發射結的邊界積累起來, 右基區中形成了一定的濃度梯度,靠近發射結附近濃度最高,離發射結越遠濃度越小。因此, 電子就要向集電結的方向擴散,在擴散過程中又會與基區中的空穴復合,同時接在基區的電源

    
(3)集電區收集電子         
  集電結外加反向電壓,其集電結的內電場非常強,且電場方向從C區指向B區。使集電區的電子和基區的空穴很難通過集電結,但對基區擴散到集電結邊緣的電子卻有很強的吸引力, 使電子很快地漂移過集電結為集電區所收集,形成集電極電流IC。 與此同時,集電區的空穴也會在該電場的作用下,漂移到基區, 形成很小的反向飽和電流ICB0 。   
              
2、電流分配關系 
   
與正向偏置的二極管電流類似,發射極電流iE與vBE成指數關系:    
      
集電極電流iC是iE的一部分,即: 
   
      
   
式中β稱為BJT的電流放大系數 
   
三、BJT的特性曲線 
   
  1.共射極電路的特性曲線       
   
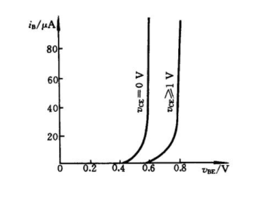
(1)輸入特性     
    
  VCE=0V時,b、e間加正向電壓,這時發射結和集電結均為正偏,相當于兩個二極管正向并聯的特性。 
  VCE≥1V時,這時集電結反偏,從發射區注入基區的電子絕大部分都漂移到集電極,只有小部分與空穴復合形成IB。 vCE>1V以后,IC增加很少,因此IB的變化量也很少,可以忽略vCE對IB的影響,即輸入特性曲線都重合。 
  
  
   
注意:發射結開始導通的電壓vBE:0.6V~0.7V(硅管),0.1~0.3V(鍺管) 
(2)輸出特性曲線  
  對于一確定的iB值,iC隨VCE的變化形成一條曲線,給出多個不同的iB值,就產生一個曲線族。如圖3.6所示。  
   
  ① IB = 0V, IC=ICEO BJT截止,無放大作用,因此對應IB=0的輸出特性曲線以下的區域稱為截止區如圖3.6所示。 
  ② IB﹥0 , VCE<1V ,iC隨IB的變化不遵循的規律,而且iC隨VCE的變化也是非線性的,所以該區域稱為飽和區。 
  ③ IB﹥0、VCE≥1V,iC隨iB的變化情況為: 
或 
  在這個區域中IC幾乎不隨VCE變化,對應于每一個IB值的特性曲線都幾乎與水平軸平行,因此該區域稱為線性區或放大區。 
   
四、BJT的主要參數 
   
  BJT的參數是用來表征管子性能
   
1.流放大系數 
   
  BJT在共射極接法時的電流放大系數,根據工作狀態的不同,在直流和交流兩種情況下分別用符號 和表示。其中 
  上式表明:BJT集電極的直流電流 IC與基極的直流電流IB的比值, 就是BJT接成共射極電路時的直流電流放大系數, 有時用hFE來代表 。 
  但是,BJT常常工作在有信號
2.極間反向電流 
   
  (1)集電極-基極反向飽和電流ICBO。表示發射極開路,c、b間加上一定的反向電壓時的電流。  
  (2)集電極-發射極反向飽和電流(穿透電流)ICEO。表示基極開路,c、e間加上一定的反向電壓時的集電極電流。  
         
3.極限參數 
   
  (1)集電極最大允許電流ICM。表示BJT的參數變化不超過允許值時集電極允許的最大電流。當電流超過ICM時,三極管
  (2)集電極最大允許功耗PCM。表示BJT的集電結允許損耗功率的最大值。超過此值時,三極管的性能將變壞或燒毀。 
  (3)反向擊穿電壓V(BR)CEO。 表示基極開路,c、e間的反向擊穿電壓。 
   
4、晶體管的選擇    
  (1)依使用條件選PCM在安全區工作的管子, 并給予適當的散熱要求。 
  (2)要注意工作時反向擊穿電壓 , 特別是VCE不應超過 V(BR)CEO。 
  (3)要注意工作時的最大集電極電流IC不應超過ICM。 
  (4)要依使用要求:是小功率還是大功率, 低頻、高頻還是超高頻,工作電源的極性,β值大小要求。