 
          
                    汽車制造生產中,激光打標機在在汽車零部件方面的運用非常廣泛,從車身車架、輪轂輪胎、各種五金部件、座椅中控、方向盤儀表盤、玻璃、內飾、照明等,到配套的車用油
Read More.. 
          
                    1磨削技術發展概述一般來講,按砂輪線速度Vs的高低將磨削分為普通磨削(Vs<>高速高效磨削、超高速磨削在歐洲、美國和日本等一些工業發達國家發展很快,如德國的Aach
Read More.. 
          
                    ▌ 普通外圓磨削普通外圓磨削如下圖所示,利用工件兩端的頂尖孔,把工件支承在磨床的頭架及尾座頂尖間,磨削時工件在主軸帶動下作旋轉運動,砂輪作橫向進給。普通外圓
Read More.. 
          
                    折彎模具是鈑金加工成形的主要工藝裝備,隨著工程機械、汽車、船舶、航空航天、電器儀表和建筑裝潢等行業的發展,國內外鈑金加工企業對鈑金制品的成形精度、形狀復
Read More.. 
          
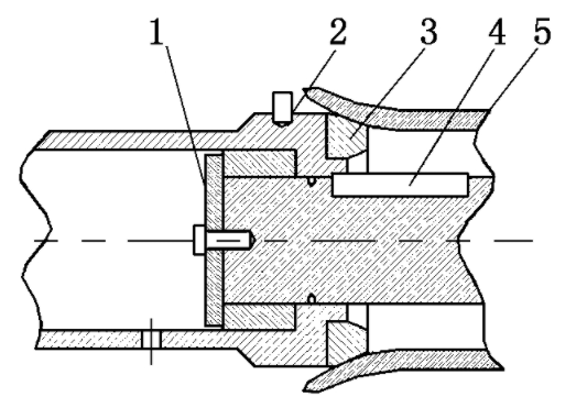
                    機械加工中,為了保證工件的位置精度和用調整法獲得尺寸精度時,工件相對于機床與刀具必須占有一正確位置,即工件必須定位。而工件裝夾定位的方式有:直接找正、劃線
Read More.. 
          
                    金屬薄壁管零件具有結構緊湊、重量輕及節省材料等特點,在生產中得到廣泛應用。由于零件壁薄、強度弱、剛性差,加工中很容易變形,質量難以保證。“變形管”是典型的
Read More.. 
          
                    設計目的 工裝、夾具、檢具是為提高機械產品批生產的效率及保證機械產品的質量穩定性,從而達到降低產品生產成本的目的。因此工裝、夾具、檢具的設計制造要無條件
Read More.. 
          
                    眾 所周知,半導體作為最重要的產業之一,每年為全球貢獻近五千億美金的產值,可以毫不夸張的說,半導體技術無處不在。俗話說:巧婦難為無米之炊,硅晶圓作為制造半導體
Read More.. 
          
                    隨著科學技術的發展,醫生們在現代外科手術這個領域設置了一個大目標:提高手術的安全系數,同時減輕給病患帶來的傷害。要達到這個目標,確實有難度。但是有了機器人
Read More.. 
          
                    一、影響磨床加工表面粗糙度的因素及其改善措施(1)與磨削砂輪有關的因素。主要是砂輪的粒度、硬度以及對砂輪的修整等。砂輪的粒度越細,則砂輪單位面積上的磨粒數
Read More..